XL(LX)型弹性星型联轴器 特点及应用场合:具有补偿两轴相对偏移、减振、缓冲性能、径向尺寸小,结构简单、不用润滑、承载能力较高,维护方使、更换弹性元件需轴向移动,适用于联接同轴线,起动频繁,正反转变化,中速、中等转矩传动轴系和要求工作可靠性高的工作部位。不适用于重载、低速及轴向尺寸受艰制,更换弹性元件后两轴对中困难的部位。 XL型--基本型;XLD型--扩大轴孔型;![]()
XL(LX)型弹性星型联轴器的基本尺寸和参数(JB/T 10466-2004) mm
![]() |

XL(LX)型弹性星型联轴器 特点及应用场合:具有补偿两轴相对偏移、减振、缓冲性能、径向尺寸小,结构简单、不用润滑、承载能力较高,维护方使、更换弹性元件需轴向移动,适用于联接同轴线,起动频繁,正反转变化,中速、中等转矩传动轴系和要求工作可靠性高的工作部位。不适用于重载、低速及轴向尺寸受艰制,更换弹性元件后两轴对中困难的部位。 XL型--基本型;XLD型--扩大轴孔型;![]()
XL(LX)型弹性星型联轴器的基本尺寸和参数(JB/T 10466-2004) mm
![]() |
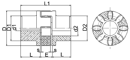
XL(LX)型弹性星型联轴器 特点及应用场合:具有补偿两轴相对偏移、减振、缓冲性能、径向尺寸小,结构简单、不用润滑、承载能力较高,维护方使、更换弹性元件需轴向移动,适用于联接同轴线,起动频繁,正反转变化,中速、中等转矩传动轴系和要求工作可靠性高的工作部位。不适用于重载、低速及轴向尺寸受艰制,更换弹性元件后两轴对中困难的部位。 XL型--基本型;XLD型--扩大轴孔型;![]()
XL(LX)型弹性星型联轴器的基本尺寸和参数(JB/T 10466-2004) mm
![]() |
镇江海诚机械制造有限公司
© 海诚集团 版权所有 All rights reserved.
地址:江苏省镇江市高新技术开发园区68号 服务热线:18913433240
公司电话:0511-85783292 公司传真:0511-85019680(自动接收)
Copyright © 镇江海诚机械制造有限公司 版权所有 苏ICP备14043855号-6